dynasys apu wiring diagram

Pin on Electronic schematics. 14 Images about Pin on Electronic schematics : Dynasys Apu Wiring Diagram, NEW THERMO KING TRI PAC/EVOLUTION/DYNASYS GEN 1 STARTER! ONLY $265.99 and also Dynasys Apu Wiring Diagram.

Pin On Electronic Schematics

Pin on Electronic schematics www.pinterest.com

ibanez tubescreamer schematics guitarpedalbuilders stompboxed builders ts808 amps pedalboard keeley distortion

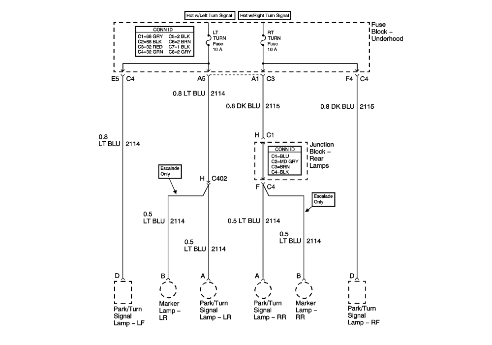
Wiring Schematic For A 2000 Cadillac Escalade - Wiring Diagram Schemas

Wiring Schematic For A 2000 Cadillac Escalade - Wiring Diagram Schemas wiringschemas.blogspot.com

escalade cadillac ext wiring 2002 diagram repair power 2wd schematic turn distribution autozone fuses rt lt fig guides

Girinata Palace: WIRING DIAGRAM SEPEDA MOTOR

Girinata Palace: WIRING DIAGRAM SEPEDA MOTOR adiemunk.blogspot.com

scooter 150cc lml electrics adie munk

Wiring Diagram 2008 Pt Cruiser - Kapris-naehwelt

Wiring Diagram 2008 Pt Cruiser - kapris-naehwelt kapris-naehwelt.blogspot.com

alternator

Dynasys Apu Wiring Diagram

Dynasys Apu Wiring Diagram schematron.org

apu dynasys guides alternator idling

APU WIRING DIAGRAM

APU WIRING DIAGRAM ch-47helicopters.tpub.com

diagram apu wiring 1520 tm esu ch system task change end

Help With Change In Schematic

Help with change in schematic forum.allaboutcircuits.com

Auxiliary Power Unit APU-HVAC From Centramatic

Auxiliary Power Unit APU-HVAC from Centramatic www.centramatic.com

hvac apu unit auxiliary power bunk under control centramatic diamond

Auxiliary Power Unit APU-HVAC From Centramatic

Auxiliary Power Unit APU-HVAC from Centramatic www.centramatic.com

apu unit auxiliary power centramatic

NEW THERMO KING TRI PAC/EVOLUTION/DYNASYS GEN 1 STARTER! ONLY $265.99

NEW THERMO KING TRI PAC/EVOLUTION/DYNASYS GEN 1 STARTER! ONLY $265.99 www.ebay.com

dynasys tripac pac

Solution For:"I Need Apicture Of The Wiring..." -Fixya

Solution for:"I need apicture of the wiring..." -Fixya www.fixya.com

wiring apicture need fixya motor hp oct posted

Typical Wiring For The PRO, DNO, VTX And NCC Controllers - 4QD

Typical Wiring for the PRO, DNO, VTX and NCC Controllers - 4QD www.4qd.co.uk

wiring diagram motor speed typical controller circuit pro 4qd control electrical switch dc wire reverse electric toggle ncc vtx controllers

Thermo King Tripac For Sale Www.apucenter.com - YouTube

Thermo king tripac for sale www.apucenter.com - YouTube www.youtube.com

tripac

Wiring Zumo To Switched Power - Pelican Parts Forums

Wiring Zumo to switched power - Pelican Parts Forums forums.pelicanparts.com

wiring bmw forums r1100s diagram light ddp course brake pelicanparts

Auxiliary power unit apu-hvac from centramatic. Wiring bmw forums r1100s diagram light ddp course brake pelicanparts. Pin on electronic schematics